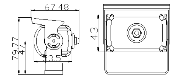
The AHD Rear Camera with IR features a 1080P AHD high definition output, and has built-in infra-red LED’s which can illuminate up to 5 metres distance, providing camera operation down to 0 lux. A slotted mechanism ensures a wide range of up/down viewing angles can be accommodated and the locking screws ensure that once adjusted the camera angle will not slip even under harsh vibration conditions. The AHD Rear Camera with IR is particularly well suited for use on fire and ambulance vehicles, but can also be installed in many other locations. It features a 4-pin aviation connector for compatibility with our range of camera extender cables.
AHD Camera Splitter Cable
Part number: AEX-ST-ACC-YSThe AEX-ST-ACC-YS is a ‘Y’ splitter cable for our range of AHD cameras in the AutoEye Xpert Pro Series. It allows a single AHD camera to be connected to two devices such as a DVR and a monitor.

